Float-11A float level indicator is designed for continuous liquid level measurement in tanks, vessels, and industrial process systems. It works well in applications that need stable output, reliable operation, and broad liquid compatibility. Because the wetted parts are available in 304 or 316L stainless steel, the instrument suits many different fluid environments.
The device works on the Archimedes buoyancy principle. As the liquid level rises or falls, the float moves with it. A permanent magnet inside the float actuates the reed switches in the chamber. This changes the resistance value in the sensor. The instrument then converts that change into a standard 4โ20 mA DC output signal for remote indication, monitoring, and control.
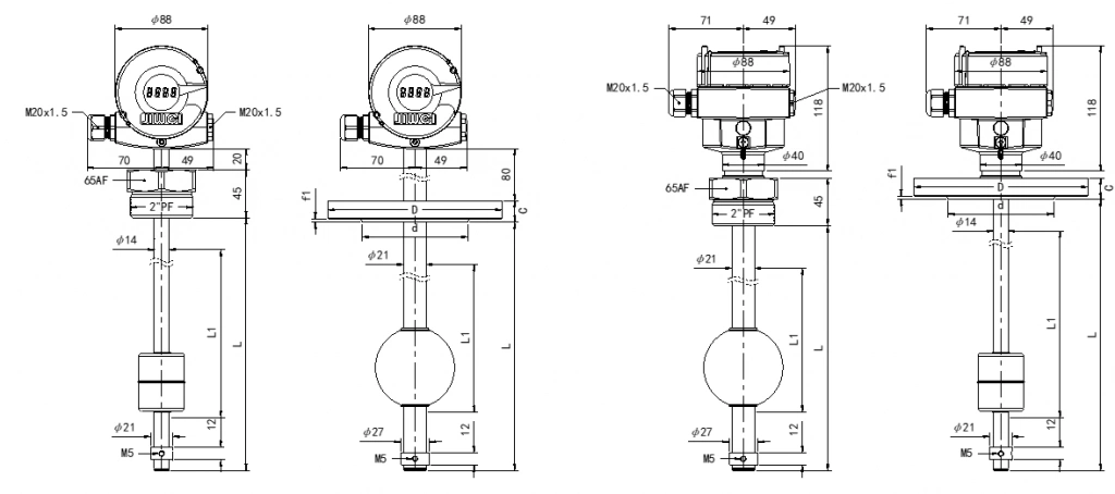
Stable Signal Output with Flexible Float Selection
The Float-11A float level indicator supports continuous output instead of simple point switching. This makes it useful for systems that need real-time level monitoring. Jiwei also offers different float designs for liquids with different densities. As a result, users can select a suitable float to improve measurement accuracy in specific applications.
The instrument uses high-quality plastic reed switches as key internal components. This helps improve endurance and long-term stability during industrial operation. In addition, the signal output remains suitable for standard control systems that use 4โ20 mA level signals.
Durable Construction for Industrial and Hygienic Use
The instrument can be equipped with a bright LED display for easy local reading. The display can be arranged in either horizontal or vertical orientation, which gives users more flexibility during installation. Its sealing design also supports IP66/IP67 protection, which helps improve reliability in wet and demanding field conditions.
For hazardous-area applications, the device is available with flameproof enclosure and intrinsic safety approvals. Therefore, it can support projects that require both continuous level measurement and safety certification. The stainless steel structure also makes it a practical solution for industrial environments where corrosion resistance and long service life are important.
Typical Applications
This float level indicator is widely used in chemical and petrochemical systems, natural gas facilities, power generation equipment, industrial wastewater treatment, food processing storage tanks, process water systems, drinking water treatment, beverage production, and pharmaceutical applications. It is especially useful where users need continuous liquid level output and stable long-term performance.
For other continuous level solutions, see the [Float-11P Coated Float Level Indicator] and the [Flap-11A Standard Magnetic Level Indicator]. The device also provides a standard [4โ20 mA output] for easier integration into monitoring and control systems.




